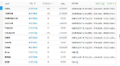
5D电动座椅优化案例
标题:纵横影院设备厂家-专业提供4、5D电动座椅、影院设计方案与价格
关键词:4D影院设计方案,5D影院座椅,电动4D座椅,地震平台,地震小屋
描述:北京纵横科技影院设备厂家主要经营产品有4D、5D影院设备,电动动感座椅、地震小屋平台等,并为客户提供4D、5D影院设计方案,秉承“客户至上、技术领先”的经营理念,致力于为院线、展馆类客户提供国际水准的4DMAX影院,以专业的水准赢得了新老顾客的高度认可!



5D电动座椅优化案例
声明:如有信息侵犯了您的权益,请告知,本站将立刻删除。


